Added to Cart
Accessories - Amputee Attachment
| Item | Part/Kit | Part/Kit Description | Qty/Pkg | Qty/Asbly | MSRP | View Parts Notes | |
|---|---|---|---|---|---|---|---|
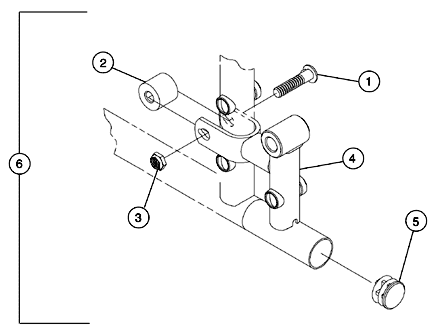
| 2 | 47324X011 | Bushing, Pivot (5/16 x 7/8 x 3/4") | 1 | 2 |
Create/add to WishlistCreate/add to Wishlist |
||
| 3 | 1107321 | Nut, Low Cap (5/16"-24) | 1 | 2 |
Create/add to WishlistCreate/add to Wishlist |
||
| 4 | 1065769 | Bracket, Amputee - Right | 1 | 1 |
Create/add to WishlistCreate/add to Wishlist |
||
| 4 | 1065770 | Bracket, Amputee - Left | 1 | 1 |
Create/add to WishlistCreate/add to Wishlist |
||
| 5 | 1027095 | Plug Button, Black (7/8") | 1 | 2 |
Create/add to WishlistCreate/add to Wishlist |
||
| 6 | 1065789 | NLA - Attachment, Amputee (Pair) | 2 | 1 | N/A | A |
Create/add to WishlistCreate/add to Wishlist |
Assembly Part Notes
| Note Code | Definition |
|---|---|
| A | Includes items 1-5. |
